便携式升降装置
来源:admin
浏览:
发布日期:2022-05-18
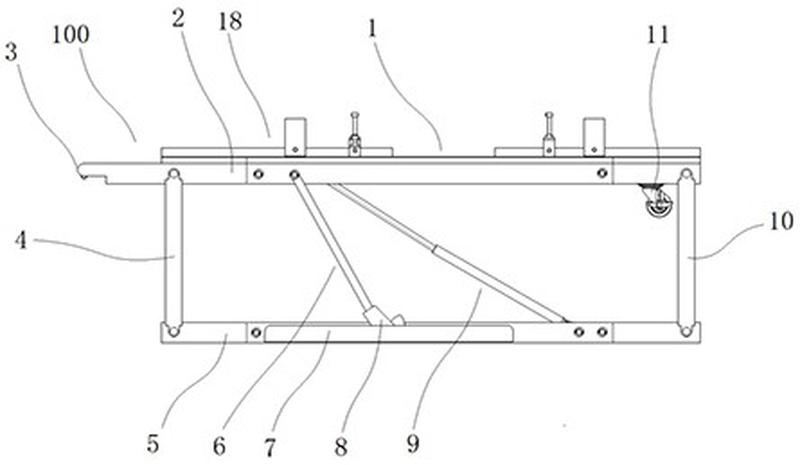
本实用新型提供一种便携式升降装置,包括支撑台,支撑台设置在升降机架上,且支撑台上设置有定位工装;升降机架由支撑底架、支撑托架以及前后两组支撑板组构成的平行四边形结构,且支撑板两端分别与支撑底架、支撑托架铰连接;顶升机构两端分别通过连接轴分别支撑在支撑托架、支撑底架铰连接;锁止机构包括:锁止臂前端设置的锁止滑块,锁止臂一端与支撑托架外侧铰接,且锁止滑块前端设置有圆弧槽;支撑导轨与锁止滑块对应设置在支撑底架上,且支撑导轨滑槽内等间距设置有若干定位挡块。本实用新型结构紧凑,空间占用小,动力稳定,可便捷的进行折叠,实现对升降装置存放或转运。



扫一扫关注微信